Meine Hausplanung? Kritik erwünscht! Verbesserungen?

4,30 Stern(e) 4 Votes
Zuletzt aktualisiert 21.12.2025
Sie befinden sich auf der Seite 2 der Diskussion zum Thema: Meine Hausplanung? Kritik erwünscht! Verbesserungen?
>> Zum 1. Beitrag <<

Y

ypg

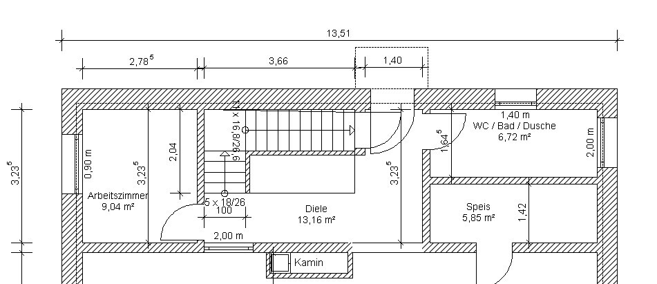
Die Tür oben an der Treppe ist nicht erlaubt.
Treppenstufen in der Schräge ist schwierig. Welche Höhe Hast du an der äußersten Stelle? Man geht ja meistens außen, da dort die Stufen breiter sind.
Nein, das Problem sind nicht die schrägen Stufen, sondern der Dachstuhl behindert das aufrechte Gehen nach oben. Die Treppe ist definitiv am falschen Platz.
Wenn es auch gerade mal hinkommen mag, wäre es wahrscheinlich zu knapp, sodass man größere Möbel nicht nach oben bekommt
 
W

wolfgangp

Die Tür oben an der Treppe ist nicht erlaubt.
Oben am Ende der Treppe ist keine Tür. Eingezeichnet ist die Tür zum Keller runter.

Die niedrigste Höhe für die Stufen außen liegt bei 1,80m für ein paar Quadratzentimeter, da das Dach gleich 45 Grad aufsteigt. Der Kniestock liegt bei 1,4m derzeit.
Ja, bei denTreppen hab ich jetzt schon öfters gehört, dass diese nicht sinnvoll sind. Ich bin gerade beim Umplanen, sodass es eine Podesttreppe sein wird, die nach außen hin versetzt wird, da ich für diese mehr Platz brauche. Den Eingang werd ich dann gleich beim Podest machen.

Diese Schranksache im Schlafzimmer erzeugt einen dunklen Schlauch-Eingang. Sowas find ich immer schlecht.
Ja stimmt, gefällt mir auch nicht so.

Auf dem Weg zur Terrasse steht immer der Esstisch im Weg.
Der Erker ist 4m innen breit. Der Tisch steht quer dazu. Am Plan ist es vielleicht blöd eingezeichnet, aber es sollte ca. 1m Platz sein damit man ohne Probleme am besetzten Tisch vorbei kommt.

Sobald der Plan steht, stell ich ihn wieder rein. Treff heute auch einen Baumeister, der wirft auch einen Blick darauf.
 
W

wolfgangp

Ich hab mir nun ein paar andere Entwürfe zur Treppe überlegt. Auch vor einiger Zeit hatte ich mir schon einmal Gedanken über die Treppenform gemacht und mich damals für die halbgewendelte Treppe entschieden.

Die verschiedenen Varianten:
- Halbgewendelt 1: Die Treppe im Grundriss mag auf den ersten Blick unbequem aussehen aber sie ist von den Dimensionen mehr als großzügig ausgelegt. (Laufbreite 1,2m).
Vorteile: Treppe hat auf der äußeren Seite min. 2m Abstand zur Dachschräge (keine Gaube nötig, da Kniestock 1,4m)
- Dreiläufig: Laufbreite 1m
Vorteile: Treppe hat auf der äußeren Seite min. 2m Abstand zur Dachschräge (keine Gaube nötig)
Großes Treppenauge
Nachteile: Dielendurchgang wird enger

- Erker mit Podest: Haupteingang auf Mittelpodest, Laufbreite beliebig
Vorteile: Laufbreite kann großzügiger gestaltet werden; Arbeitszimmer wird größer; kein eigener Eingang nötig
Nachteile: Eigener großer Erker (2,5 Stockwerke von außen sichtbar); Speis wird kleiner, da Zugang zum Bad sonst nicht möglich ist

- Viertelgewendelt: 1m Laufbreite
Vorteile: keine schräge Stufen, großes Treppenauge für Garderobe
Nachteile: Gaube nötig, da Austritt am Dachrand, Kellertür und Haustür können sich im Weg stehen

- Seitliche Podesttreppe (keine Skizze):
Nachteile: Haus müsste verbreitert werden um Aufgang, Abgang und Diele zum Arbeitszimmer nebeneinander zu platzieren

- Halbgewendelt 2: Laufbreite 1m
Vorteile: Großzügig ausgelegt: 16-17 Stufen mit 27cm Trittweite und 17cm Steighöhe.
Treppe hat auf der äußeren Seite min. 2m Abstand zur Dachschräge (keine Gaube nötig)
Diele ausreichend breit
Nachteile: Großteils schräge Stufen. Für meinen Geschmack aber nicht störend.


Viel mehr Möglichkeiten die Treppe anzuordnen habe ich nicht gefunden. Persönlich würde ich mich für die halbgewendelte Treppe Nummer 2 entscheiden. Hab auch hier im Forum zum Thema Treppenform gelesen, dass dies eher Geschmacks- bzw. Empfindungssache ist, ob schräge Stufen als unbequem empfunden werden.
Aus meiner Sicht sehe ich hier keine Nachteile wenn diese großzügig ausgelegt ist.

Für welche Treppenform würdet ihr euch entscheiden?

Grundriss eines Hauses: Arbeitszimmer, Diele, Speis, WC/Bad/Dusche, Treppenhaus.


Grundriss eines Gebäudeteils mit Arbeitszimmer, Diele, Speis und WC/Bad/Dusche; Spiraltreppe.


Grundriss: Arbeitszimmer, Diele, WC/Bad/Dusche, Speis; Treppenhaus und Eckkamin.


Grundriss eines Hauses mit Arbeitszimmer, Diele, Speis, WC/Bad/Dusche, Eckkamin und Treppenaufgang.


Grundriss eines Hauses mit Arbeitszimmer, Diele, Speis, WC/Bad/Dusche und Kamin.
 
Zuletzt aktualisiert 21.12.2025
Im Forum Grundrissplanung / Grundstücksplanung gibt es 2554 Themen mit insgesamt 88548 Beiträgen


Ähnliche Themen zu Meine Hausplanung? Kritik erwünscht! Verbesserungen?
Nr.ErgebnisBeiträge
1Nur Gaube erlaubt, Lösungen? - Seite 282
2Einfamilienhaus, Eingeschossigkeit, Kniestock, Fenster OG 30
3Kniestock erhöhen: Machbarkeit, Kosten, Alternativen? 10
4Dachneigung und Kniestock bei Wunsch nach Flachdachgaube 26
5Kniestock und Fenster für Garagenaufstockung 17
6Große Gauben oder hoher Kniestock? - Seite 333
7Einfamilienhaus mit seitlichem Eingang -Grundrissdiskussion? 17
8Kniestock nachträglich gesenkt - Seite 434
9Position der Badewanne unter Dachschräge - Seite 222
10Eingang Grundriss welche Treppenvariante - Seite 231
11Einfamilienhaus mit kleiner Grundfläche, DG und Keller, Zustimmung Nachbar - Seite 231
12Grundriss Podesttreppe Varianten 15
13Beton-Podesttreppe, welcher Belag passt zu uns? 16
14Podesttreppe aus Beton? - Seite 314
15Podesttreppen-Kombination Podesttreppe und halbgewendelte Treppe - Seite 211
16Grundriss Entwurf Einfamilienhaus mit 10% Südhang. Hauseingang Podesttreppe 39
17Was ist das für eine Gaube - Seite 210
18Gaube nicht möglich, weil Drempel zu hoch 12
19Unterschied Gaube Zwerchgiebel Zwerchhaus - Unklarer Bebauungsplan 16
20Grundriss Einfamilienhaus mit Erker 22

Oben