ᐅ Fensterlaibung vor Fenstereinbau...Glattstrich?
Erstellt am: 13.04.20 13:22
lin0r8713.04.20 13:22
Guten Tag liebe Gemeinde,
wir stehen nun kurz vor dem Fenstereinbau… soweit ich weis muss immer die Fensterlaibung vor dem Einbau noch verfüllt werden.
Dies wurde überall gemacht doch bin ich mir als Laie nicht sicher, ob das so OK ist..? Mein Bauleiter ist ein "ja" sager und hat dementsprechend nicht die Ahnung (Anfrage für einen Nachfolger wurde gestellt).
Anhand des Bildes ist zu sehen, dass dies nur mit Zementmörtel gemacht wurde.
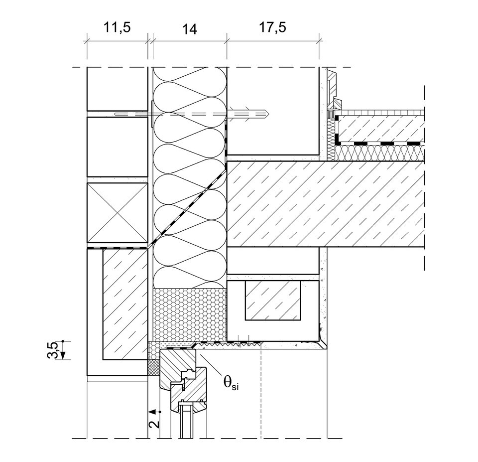
Der Aufbau der Außenwand ist: 1cm Putz (Innen), 17,5cm Poroton, 16,0cm Dämmung, 1,5cm Putz (Außen)
Von bekannten die vor kurzem gebaut haben hieß es, das noch ein Glattstrich gemacht werden muss. Ist da etwas dran, oder würde dies auch so funktionieren (s.Bild) um die Dichtigkeit zu gewährleisten?

wir stehen nun kurz vor dem Fenstereinbau… soweit ich weis muss immer die Fensterlaibung vor dem Einbau noch verfüllt werden.
Dies wurde überall gemacht doch bin ich mir als Laie nicht sicher, ob das so OK ist..? Mein Bauleiter ist ein "ja" sager und hat dementsprechend nicht die Ahnung (Anfrage für einen Nachfolger wurde gestellt).
Anhand des Bildes ist zu sehen, dass dies nur mit Zementmörtel gemacht wurde.
Der Aufbau der Außenwand ist: 1cm Putz (Innen), 17,5cm Poroton, 16,0cm Dämmung, 1,5cm Putz (Außen)
Von bekannten die vor kurzem gebaut haben hieß es, das noch ein Glattstrich gemacht werden muss. Ist da etwas dran, oder würde dies auch so funktionieren (s.Bild) um die Dichtigkeit zu gewährleisten?
11ant13.04.20 14:49
Glattstrich macht man bei den Fugen von Sicht- oder Verblendmauerwerk. Fenster werden in die Rohbauöffnung eingebaut, die dann auch noch nicht verputzt ist. Wozu willst Du da etwas glattspachteln ?
https://www.instagram.com/11antgmxde/
https://www.linkedin.com/company/bauen-jetzt/
https://www.instagram.com/11antgmxde/
https://www.linkedin.com/company/bauen-jetzt/
lin0r8713.04.20 14:58
11ant schrieb:
Glattstrich macht man bei den Fugen von Sicht- oder Verblendmauerwerk. Fenster werden in die Rohbauöffnung eingebaut, die dann auch noch nicht verputzt ist. Wozu willst Du da etwas glattspachteln ?Bezüglich des Dichtbandes und der Klebefolie.
dab_dab13.04.20 15:07
so kenn ich das auch und so wollte es auch der Fensterbauer und wurde dementsprechend umlaufend vom Rohbauer ausgeführt - ist aber bei der Firma auch Standardleistungsumfang gewesen
11ant13.04.20 15:10
lin0r87 schrieb:
Bezüglich des Dichtbandes und der Klebefolie.Und denen sei - so fürchtest Du - die Stoßfugenverzahnung zu buckelig ?Wo soll den überhaupt die Einbauebene sein ?
https://www.instagram.com/11antgmxde/
https://www.linkedin.com/company/bauen-jetzt/
lin0r8713.04.20 15:12
dab_dab schrieb:
so kenn ich das auch und so wollte es auch der Fensterbauer und wurde dementsprechend umlaufend vom Rohbauer ausgeführt - ist aber bei der Firma auch Standardleistungsumfang gewesenUnd das ist nun die Frage die ich mir unter anderem stelle.Hauptfrage bleibt jedoch, ob es nötig ist..?
Ähnliche Themen