Sorry, aber ich muss das sagen: das ist der Zeitpunkt, wo man aufhört, weiter an dem Anfangskonzept herum zu fruckeln und die Sache in die Tonne wirft. Dieser lange Weg in die Küche ist doch Käse, die Treppe passt nicht zum Dach, die Diele ist finster wie die Nacht, das WZ öffnet sich nicht zum Garten, das ganze OG ist sowieso fragwürdig - bloß nicht zimperlich sein. Zerreißen und neu anfangen.
ypg schrieb:
Der „Dachboden“ hat einen großen Kniestock in der Planung.Ich sehe hier keinen über die Brüstungshöhe hinausgehenden Kniestock. Den Wunschgedanken einer Ausbaureserve sehe ich hier nicht auch nur ansatzweise überprüft und schon gar nicht allein dadurch nachgewiesen, daß man am Austritt der Treppe Stehhöhe schafft.ypg schrieb:
Hier werden zwei Geschosse diskutiert, obwohl 4 Geschosse eingeplant werden.Wenn der Keller noch aktuell ist, sehe ich nicht nur den Kniestock, sondern auch die Treppe in den Dachspitz überflüssig. Dann würde ich in den Kinderzimmern eine Baumhausebene einziehen, das Schlafzimmer firstoffen anlegen und über der Ankleide und ggf. dem Bad einen Kofferboden schaffen, fertig.K a t j a schrieb:
Sorry, aber ich muss das sagen: das ist der Zeitpunkt, wo man aufhört, weiter an dem Anfangskonzept herum zu fruckeln und die Sache in die Tonne wirft. [...] - bloß nicht zimperlich sein. Zerreißen und neu anfangen.Ein Laienplan bleibt zwar ein Laienplan, auch wenn man einen Bauzeichner involviert (und dieser Hinweise eines Statikers einarbeitet). Aber der Pyrrhussieg, diesen Laienplan gegen alle Vernünfte der Welt durchzubringen (und laute das Ende auch "erreicht den Hof mit Müh´ und Not, in seinen Armen das Kind war tot"), ist Häuslebauers herzlichste Ehrensache - da ist fast kein Kraut gegen gewachsen. Vor allem nicht, wenn man ein Haus als Vorlage gefunden hat, welches erfolgreich um die Wunschtreppe herum gebaut wurde ...https://www.instagram.com/11antgmxde/
https://www.linkedin.com/company/bauen-jetzt/
H
hanghaus202308.04.23 13:48@11ant das dürfte das Musterhaus in Poing von Griffner Haus sein. Die haben das Bild gespiegelt.
C
Costruttrice08.04.23 14:04hanghaus2023 schrieb:
@11ant das dürfte das Musterhaus in Poing von Griffner Haus sein. Die haben das Bild gespiegelt.Du hast Recht! Ich habe die ganze Zeit überlegt, woher mir das Foto mit der Außenansicht so bekannt vorkam.Innen ist es allerdings gänzlich anders angeordnet, fängt schon mit der Treppe an.
Costruttrice schrieb:
Innen ist es allerdings gänzlich anders angeordnet, fängt schon mit der Treppe an.... und hört mit dem nicht aufgesetzten "Ausbaureserve"-DG nicht auf. Schade - ich hatte gehofft, man habe eine zumindest hinsichtlich der hier offenbar "traumtragenden" Treppe erfolgreich bewiesene Vorlage gewählt. Nebenbei bemerkt, habe ich bereits im ich glaube vom Gatten der TE begonnenen Vorläuferthread aus den Grundrissen never ever auf ein Schrägdachhaus geschlossen.Ich glaube, es war ein Film mit Barbra Streisand, wo eine Kundin Typ Merkel (oder eher Thatcher ... ? - es ist lange her) beim Friseur ein Bild von Lady Di zeigt "so möchte ich aussehen". Daran muß ich immer denken, wenn sich jemand ausgerechnet die herausforderndste Basis für sein Ziel auswählt 🙂
@ alle Träumer: bitte eröffnet weniger Popcornthreads - ich und viele andere RatgeberInnen hier möchten viel lieber bei erfolgreichen Traumumsetzungen helfen können, leider ist ein bewältigbares Delta zwischen Wunsch und Möglichkeit eine nicht zu vernachlässigende Gelingensvoraussetzung dafür. Alternativ möge der @admin einmal darüber nachdenken, eine "Simhaus des Monats" Rubrik einzurichten, in der dann nach Herzenslust frei von den Zwängen der blöden Schwerkraft und des schnöden Mammons phantasiert werden kann. Aber so oder so: über weniger Vermischung von "nur noch ein kleiner Schubs, dann klappt´s" und "hoffnungslos, aber lustig" Threads würde ich mich sehr freuen !
https://www.instagram.com/11antgmxde/
https://www.linkedin.com/company/bauen-jetzt/
S
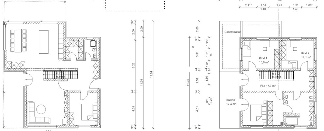
Stein202310.05.23 21:53Hallo zusammen,
wir haben das OG nochmals angepasst und hätten nun 2 Optionen: Mit und ohne Abstellkammer. Licht und Größe müsste es genug geben im Flur. Was denkt ihr, würdet ihr eine Abstellkammer bevorzugen? Die Abstellkammer würden wir für Staubsauger, Putzzeug, etc. nutzen.
Ohne Abstellkammer und einen Low Board:

Mit Abstellkammer:

Vielen Dank.
wir haben das OG nochmals angepasst und hätten nun 2 Optionen: Mit und ohne Abstellkammer. Licht und Größe müsste es genug geben im Flur. Was denkt ihr, würdet ihr eine Abstellkammer bevorzugen? Die Abstellkammer würden wir für Staubsauger, Putzzeug, etc. nutzen.
Ohne Abstellkammer und einen Low Board:
Mit Abstellkammer:
Vielen Dank.
Ähnliche Themen