Elektroinstallation - Schalter/Taster per Funk nachrüsten

4,80 Stern(e) 4 Votes
Zuletzt aktualisiert 24.10.2025
Sie befinden sich auf der Seite 4 der Diskussion zum Thema: Elektroinstallation - Schalter/Taster per Funk nachrüsten
>> Zum 1. Beitrag <<

bauenmk2020

bauenmk2020

Es gibt auf diese Frage keine eindeutige Antwort. Aber du brauchst alle 3 Adern am Lichtschalter und Lichtauslass um möglichst flexibel zu sein. Einfach gesagt du müsstest auch eine Steckdose an der Stelle einbauen können, dann stehen dir fast alle Wege offen. So wie T_im Norden auch schon beschrieben hat.

Sternverkabelung eben.
Zwei Nahaufnahmen einer offenen Wanddose mit sichtbar verdrahten Kabeln (braun, blau, grün-gelb).

Hier ein Beispiel eines Lichtschalters. Es geht ein braunes Kabel (Phase) in den Schalter rein und raus. Der Nullleiter (blau) ist da gar nicht angeschlossen sondern ist in einer WAGO Klemme (rechts im Bild) angeklemmt.

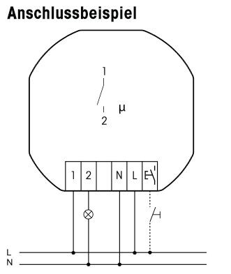
Hier das Schaltbild von meinem Aktor FL62-230V:

Diagramm eines Anschlussbeispiels mit L- und N-Leitungen und Leuchtkörper-Symbol.



Wie gehe ich da am besten vor?
 
Mycraft

Mycraft

Moderator
Du hast an diesem Lichtschalter alles was du brauchst. Einfach nach dem Anschlussbeispiel vorgehen und den Aktor anschließen.
 
bauenmk2020

bauenmk2020

@Mycraft
okay. Jetzt ist es so, dass mein Elektriker Schalter verbaut hat um angeblich das Haus "funktionsfähig zu übergeben". Bei Tastern müsste "man ja ständig drücken damit Licht anbleibt". Da ich die Funkaktoren selber verbauen wollte, hat der Elektriker also die Schalter vorgesehen. Nach Übergabe müsste ich also die Schalter gegen Taster+Funkaktoren austauschen...
Ich bin echt angefressen. Das obwohl ich ständig erwähnt habe, dass wir Funkaktoren einsetzen werden, diese sogar über den Elektriker bezogen wollten - er aber gemeint hat "das können Sie später auch selber machen"...ich glaube jetzt weiß ich warum...

Trotzdem noch mal für mein Verständnis:
Der Funkaktor übernimmt die Funktion des konventionelle Lichtschalter - der konventionelle Lichtschalter ist also nur noch zuständig um den Impuls BETÄTIGT an den Aktor weiterzugeben?
Was passiert wenn meine Logiksteuerung deaktiviert ist? Wie kann dann ein Lichtschalter als Taster trotzdem noch die Lampe ein/aus schalten? Übernimmt das dann auch der Funkaktor (nur halt direkt statt per Funk)?
 
T

T_im_Norden

Ja dann geht das Signal direkt durch, daher auch die Verkabelung des Elektriker.
Such mal nach Shelly 1 - Installation / Einbau in einer Wechselschaltung
 
Mycraft

Mycraft

Moderator
jetzt ist es so, dass mein Elektriker Schalter verbaut hat um angeblich das Haus "funktionsfähig zu übergeben". Bei Tastern müsste "man ja ständig drücken damit Licht anbleibt".
Ja und das ist auch gut so. Denn du hast ein funktionsfähiges Produkt bestellt und bekommst es auch. Nur weil du keine Winterreifen bestellst und diese selber aufziehen willst, wird dir der Autohändler das Auto im Dezember auch nicht auf nackten Felgen liefern. Nein es werden Sommerreifen dabei sein.

Da ich die Funkaktoren selber verbauen wollte, hat der Elektriker also die Schalter vorgesehen. Nach Übergabe müsste ich also die Schalter gegen Taster+Funkaktoren austauschen...
Ja was an sich kein Problem darstellen sollte, denn wie wir jetzt schon festgestellt haben anhand deiner Bilder und Aussagen. Es ist alles soweit für die Umrüstung vorbereitet.

Ich bin echt angefressen. Das obwohl ich ständig erwähnt habe, dass wir Funkaktoren einsetzen werden, diese sogar über den Elektriker bezogen wollten - er aber gemeint hat "das können Sie später auch selber machen"...ich glaube jetzt weiß ich warum...
Er hat seine Vertragsbedingungen und daran hat er sich zu halten.

Der Funkaktor übernimmt die Funktion des konventionelle Lichtschalter - der konventionelle Lichtschalter ist also nur noch zuständig um den Impuls BETÄTIGT an den Aktor weiterzugeben?
Ja das ist im Prinzip die Funktionsweise.

Was passiert wenn meine Logiksteuerung deaktiviert ist? Wie kann dann ein Lichtschalter als Taster trotzdem noch die Lampe ein/aus schalten? Übernimmt das dann auch der Funkaktor (nur halt direkt statt per Funk)?
Häng dich doch nicht so an den Lichtschaltern auf. Diese sind in einer funktionierenden mehr oder weniger automatisierten Installation wahrlich die letzte Geige. Der Aktor übernimmt alles, die ganze Steuerung(bezogen auf diese eine Lichtgruppe).

Dann reagiert er nur noch auf die Impulse von Außen. Diese können vom Taster, Schalter, Sensor, Logik, Telefon usw. kommen. Der Aktor verarbeitet diese Impulse und führt die passenden Aktionen durch.
 
T

T_im_Norden

Ich habe mir nochmal deinen ersten Post angeschaut.

Deine Verkabelung ist laut deiner Beschreibung konventionell und nicht Stern.

Daher kann ein Taster nur funktionieren wenn da ein Aktor drin ist, ansonsten brauchst du einen Schalter.

Was steht den im Auftrag bei Elektriker Taster oder Schalter ?
 
Zuletzt aktualisiert 24.10.2025
Im Forum Elektrik / Elektroplanung gibt es 823 Themen mit insgesamt 13543 Beiträgen


Ähnliche Themen zu Elektroinstallation - Schalter/Taster per Funk nachrüsten
Nr.ErgebnisBeiträge
1Installation von Satellitenschüssel auf dem Dach - Seite 561
2Jalousieschalter, Raumtemperaturregler, Lichtschalter Busch Jäger 31
3Ärger mit dem Elektriker / Toleranzbereich?! 42
4Neubau Einfamilienhaus: Platzierung Lichtschalter - Seite 235
5Installation einer SAT-Anlage 38
6KNX vom Elektriker ohne Programmierung - Seite 267
7LAN-Verkabelung in Einfamilienhaus (Fertighaus) 15
8Problem mit dem Elektriker - was würdet ihr unternehmen ? - Seite 378
9Shelly Pro-Serie vs. Homematic IP wired vs. Bus-Verkabelung Erfahrung 51
10Heinz von Heiden Erfahrungsbericht 2015-2016 Bungalow BW - Seite 37402
11Steckdosen direkt unter Lichtschalter? Pro, Contra? 17
12Steckdosen und Lichtschalter nicht parallel 22
13Welchen Lichtschalter für Philips Hue? 21
14 Elektriker-Rechnung nach 2,5 Jahren - Was sind meine Rechte? 18
15Abschlagszahlung Elektriker so rechtens? 23
16Was macht der Elektriker während der Rohbauphase? 19
17Baurecht: Elektriker weigert sich weiterzumachen 78
18Elektriker Kosteneinschätzung - Neuinstallation 22
19Verkabelung Telefonanschluss / LAN 25
20Verkabelung LAN / SAT in Einfamilienhaus 52

Oben