Guten Tag liebe Gemeinde,
wir stehen nun kurz vor dem Fenstereinbau… soweit ich weis muss immer die Fensterlaibung vor dem Einbau noch verfüllt werden.
Dies wurde überall gemacht doch bin ich mir als Laie nicht sicher, ob das so OK ist..? Mein Bauleiter ist ein "ja" sager und hat dementsprechend nicht die Ahnung (Anfrage für einen Nachfolger wurde gestellt).
Anhand des Bildes ist zu sehen, dass dies nur mit Zementmörtel gemacht wurde.
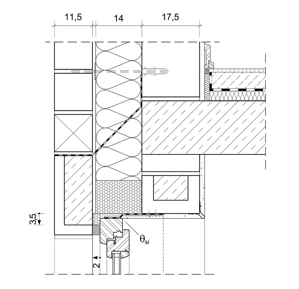
Der Aufbau der Außenwand ist: 1cm Putz (Innen), 17,5cm Poroton, 16,0cm Dämmung, 1,5cm Putz (Außen)
Von bekannten die vor kurzem gebaut haben hieß es, das noch ein Glattstrich gemacht werden muss. Ist da etwas dran, oder würde dies auch so funktionieren (s.Bild) um die Dichtigkeit zu gewährleisten?
wir stehen nun kurz vor dem Fenstereinbau… soweit ich weis muss immer die Fensterlaibung vor dem Einbau noch verfüllt werden.
Dies wurde überall gemacht doch bin ich mir als Laie nicht sicher, ob das so OK ist..? Mein Bauleiter ist ein "ja" sager und hat dementsprechend nicht die Ahnung (Anfrage für einen Nachfolger wurde gestellt).
Anhand des Bildes ist zu sehen, dass dies nur mit Zementmörtel gemacht wurde.
Der Aufbau der Außenwand ist: 1cm Putz (Innen), 17,5cm Poroton, 16,0cm Dämmung, 1,5cm Putz (Außen)
Von bekannten die vor kurzem gebaut haben hieß es, das noch ein Glattstrich gemacht werden muss. Ist da etwas dran, oder würde dies auch so funktionieren (s.Bild) um die Dichtigkeit zu gewährleisten?
Mürker13 schrieb:
Ich Frage mich aber gerade warum die Fenster bündig mit dem Innenmauerwerk sind. Weil so ja eigentlich eine Wärmebrücke entsteht oder sehe ich das falschSiehst du falsch.Der Stein ist 17,5cm und jedes Fenster ist 2cm von der Außenkante weg. Genug Spiel im Inneren.
lin0r87 schrieb:
Siehst du falsch.
Der Stein ist 17,5cm und jedes Fenster ist 2cm von der Außenkante weg. Genug Spiel im Inneren.es geht mir nicht ums Spiel innen, das Fenster müsste auf einer Ebene mit der Dämmung außen sein.Mürker13 schrieb:
es geht mir nicht ums Spiel innen, das Fenster müsste auf einer Ebene mit der Dämmung außen sein.Ich schaue mal in dem Energiewisch. Da stand wie das Fenster zu verbauen ist, um den Wert X zu erhalten.
lin0r87 schrieb:
Ich schaue mal in dem Energiewisch. Da stand wie das Fenster zu verbauen ist, um den Wert X zu erhalten.es kommt ja nun noch Dämmung davor, und genau an der Ecke von Fenster und Dämmung ist das Mauerwerk dann nicht wirklich gedämmt (evtl. 2-3cm)Das Fenster hätte ca die Dämmstärke des Mauerwerks rausgesetzt werden müssen damit alles gleichmäßig gedämmt ist und keine Wärmebrücken entstehen.
Mürker13 schrieb:
es kommt ja nun noch Dämmung davor, und genau an der Ecke von Fenster und Dämmung ist das Mauerwerk dann nicht wirklich gedämmt (evtl. 2-3cm)
Das Fenster hätte ca die Dämmstärke des Mauerwerks rausgesetzt werden müssen damit alles gleichmäßig gedämmt ist und keine Wärmebrücken entstehen.An der Fensterlaibung kommt doch eine 3cm Dämmplatte dran.
Nun ist mein Wissen ausgeschöpft. Ich erkundige mich.
lin0r87 schrieb:
An der Fensterlaibung kommt doch eine 3cm Dämmplatte dran.
Nun ist mein Wissen ausgeschöpft. Ich erkundige mich.So kenne ich die Ausführung nur wie bei "Fenster2"
Bei "Fenster3" habe ich das Fenster nach hinten versetzt um zu zeigen wie ich es meine, ist immer schwierig es zu beschreiben. Mauerwerk ist ja ordentlich gedämmt und auch das Fenster hat seinen gewissen U-Wert zur Einhaltung des Dämmwertes.
Ähnliche Themen